曾估值超 90 亿元的智能驾驶明星企业纵目科技,如今深陷困境。
2025 年春节前夕,其位于上海浦东新区科贤园的办公楼,保安用白色贴纸封住了玻璃幕墙。员工只能凭工作证进入大楼取走私人物品。这家昔日的独角兽企业,在创始人失联、账户冻结、全员欠薪及社保断缴的漩涡中,正式进入 “死亡” 倒计时。
根据中国经营报报道,该公司员工爆料称,年后,由于创始人唐锐滞留国外,管理层全部离职等原因,公司已处于停摆状态。

纵目科技成立于 2013 年,由清华大学电子工程系硕士唐锐创立。天眼查显示,其是1976年生人,汉族,美国国籍,有着硅谷 20 年汽车电子研发背景,回国后瞄准了 ADAS 赛道。

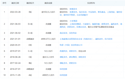
公司自成立以来完成 10 轮融资,累计融资额达 22.47 亿元人民币,联想、小米、君联资本等巨头纷纷押注,估值超 90 亿元,成为泊车方案市场占有率第一的 “隐形冠军”。

截至 2023 年 12 月 31 日,已成功为 50 款车型提供智能驾驶解决方案,与中国 2022 年销量排名前十的 OEM 厂商及多家主要新能源汽车品牌建立了业务合作关系,2023 年的五大客户分别是理想、赛力斯、长安、岚图和一汽,占总收入的 93%。公司一度被视为“量产能力最强”的本土Tier1供应商。

2021 至 2023 年,纵目科技分别实现收入2.25亿元、4.69亿元、4.98亿元。收入增幅放缓的同时,净亏损却在不断扩大。报告期内,纵目科技的经调整净亏损分别为3.82亿元、4.77亿元、5.16亿元,三年累计亏损超13亿元。

2023年后,纵目科技的业务表现直线下滑,即便拿到了某头部车企的高阶智驾业务,但这个项目并没有拯救出纵目。后续因软件架构不合理,人员冗余等因素,纵目行车产品和高阶智驾技术上迟迟没有重大突破,项目开发和交付进度缓慢,导致合作的车企明星车型交付延期。
2024年,纵目科技成立了子公司蚕丛机器人,并推出了L4级充电机器人FlashBot闪电宝。公司创始人唐锐宣称该产品是“封闭场景商业化的最佳路径”,但市场反应却异常惨淡。
然而,纵目科技的崩塌早有预兆。
2023 年 10 月 11 月间,公司进入 “低功耗模式”,员工仅能拿到最低工资且封顶 1 万元,工资发放延迟至次月 25 日。

纵目科技曾三次冲击IPO,但均以失败告终。2024年3月,公司向港交所递交招股书,但因未通过审核而失效。由于未能上市融资,公司资金链断裂,最终陷入经营困境。

到 2024 年底,连最低工资都无法发放,社保与公积金也断缴。自 2024 年 11 月起,700 多名员工未收到工资,社保公积金断缴,部分员工被迫发起劳动仲裁。
在此期间,CEO 唐锐多次宣称与宁波上市公司洽谈并购、计划出售智驾泊车业务并推进老股东融资,但均未兑现。2024 年 11 月还为 “年底国资融资到账” 画饼。

业内人士分析认为,纵目科技走向衰落的原因主要有三:
其一,技术护城河崩塌与大客户流失。以自动泊车技术起家的纵目科技,泊车技术栈停留在 2022 年水平,“高阶智驾提案被唐锐否决”,错失转型窗口。华为智选模式深入后,赛力斯问界 M5/M7 的泊车方案被华为全线切换。长安汽车加速自研智驾,其订单也沦为 “边角料”,小米持股 4.73%,但 SU7 上市未能带来协同效应,反而凸显技术脱节。

其二,战略决策失误。面对主业萎缩,2024 年 1 月纵目科技宣布设立全新子公司蚕丛机器人,并推出低速全自动驾驶充电机器人FlashBot闪电宝;2024 年 12 月成立上海纵目机器人科技有限公司,法定代表人为唐锐。然而,搭载 100 度电池的机器人成本高昂,前期多为免费试用,商业模式未实现。且因低速园区机器人与乘用车智驾技术路线差异大,资源倾斜主业进一步失血,2023 年投入 300 人团队拓展该业务,但市场反应冷淡,成压垮现金流的最后一根稻草。

其三,资本泡沫破灭。纵目科技三次 IPO 失败,2017 年新三板挂牌后数月便摘牌;2022 年 11 月转战科创板,2023 年 9 月撤回申请,原因可能是持续亏损且客户集中度过高;2024 年 3 月港交所递交招股书,6 个月后失效,使投资人失去耐心。
2024 年 11 月 10 日,公司宣布延期至每月 25 日发放工资。
2024年12月起,纵目科技已连续数月未能按时发放员工工资,社保和公积金也被断缴。
2025 年1 月 24 日,唐锐公开表示节前明确不会有新的融资进帐,并建议大家可以离职,自行缴纳社保。
1 月 25 日,公司宣布彻底停发工资,12 月社保公积金也无法缴纳。
1 月 26 日,纵目科技召开全体员工会议,宣布不再发放工资与缴纳社保,正式“停摆”,同时开始全员春节放假。甚至有员工向媒体透露,公司法务、HRD、财务、出纳等几名高管私下划走子公司账户的 88w 客户回款给自己发完全薪后 “跑路”。
1月27日,纵目科技掌握公章的高管集体离职,并在离职流程中“秒批”,导致普通员工无法正常办理离职手续。同日,税务机关向蚕丛机器人下发通知书,其中提到“你公司欠缴2024年12月社会保险费金额1696913.92元”。

1月28日起,唐锐失联,微信朋友圈停止更新,手机处于关机状态,有消息指唐锐已逃往美国,其微信个人视频号IP地址则显示为日本。

2月初,纵目科技联席CEO张爽离职,公司群龙无首。
2 月 5 日,唐锐在工作群开始已读不回。
2月7日,银行的律师函也张贴到了纵目科技的大厅内。

2 月 8 日,据员工透露,公司行政在钉钉群内通知称,将在当天18:00后开始断电并封楼,要求员工在此之前取走个人物品或办理离职证明。
纵目科技的命运不仅是一家企业的沉浮,更是中国智能驾驶行业洗牌的残酷缩影。如今,车企 “去 Tier1 化”,特斯拉、华为、蔚小理等自研派崛起,传统供应商生存空间被挤压;资本理性回归,从 “赌赛道” 转向 “看盈利”;技术迭代迅速,唯有全栈自研者能存活。
据“盖世汽车”不完全统计,2024年上半年,智能驾驶领域出现了约52起融资事件,相较2023年约69起融资事件数量有所下降。拉长时间线来看,中商产业研究院数据显示,2021年到2023年,国内智能驾驶投融资事件数量在下降。也就是说,资本市场对智能驾驶企业的关注在减弱。
纵目科技的兴衰,给仍在自动驾驶赛道的玩家敲响了警钟:没有技术的持续创新,所有资本堆砌的繁荣都是沙上城堡。自动驾驶的终极战场,只属于那些真正掌握核心命脉的 “幸存者”。